Relazione presentata al 19° Congresso Nazionale di Speleologia – Bologna, 27-31 agosto 2003, sui risultati di 10 anni di campagne speleologiche sulla catena del Monte Musi (Prealpi Giulie occidentali – Friuli Venezia Giulia – Italia)
19° Congresso Nazionale di Speleologia
Bologna, 27-31 agosto 2003
Maurizio Anselmi1 & Rino Semeraro2
1 GSSG, Gruppo Speleologico San Giusto, Via Udine 34, 34135 Trieste, Italy, E-mail: mauans@libero.it
2 GSSG e Geokarst Engineering Srl, AREA Science Park, Padriciano 99, 34012 Trieste, Italy, E-mail: geokarst@com.area.trieste.it
Carsismo e idrogeologia delle Cime del Monte Musi
(Prealpi Giulie occidentali)
DOWNLOAD
Abstract
The chain of the Peaks of the Musi Mountains (1,869.4 m) in the western Julian Fore-Alps is east-west oriented and is made up of a monocline dipping north, which is made up of carbonate rocks belonging to Triassic and Jurassic with Cretaceous Flysch rocks bordering on the north. The karst of the plateau of Musi Mt., on the northern slope entirely develops in a carbonate sequence (Rhaetian-Liassic) made up of the “Calcare del Dachstein” and of “grey transition limestones” and of “oolitic limestones”, while the “Dolomia Principale” (Norian-Rhaetian) crops out on the southern slope. The northern slope is of structural type with glacio-karstic morphologies. On the plateau the speleological surveys have allowed 230 caves to be explored. The biggest cave is “Abisso R. Pahor” (height 1,425 m), 495 m deep, with a development of 1,091.5; whereas to the west, at the foot of the southern slope of Musi Mt. “Grotta dell’Uragano” develops (height 796 m). It is 743 m long with a positive difference in level of 133 m. In the “percolating area” a complex of cascade pits and gorges, partially derived from phreatic tubes with which deep corrosion pits are associated, is predominant. The underground karstic waters (caves and springs) are typical of mountain aquifers with quick flows, having low contents of Ca2+ (28-32.9 mg/l), Mg2+ (5.8-1.8 mg/l) and of Cl– (0.3-0.8 mg/l). The most important karstic springs of the slope are the “Group of springs on the left slope of the Voidizza Stream” (height 653 m), with flows of 10-11 l/s and the “Springs of the Torre Stream” (height 529-532 m), with flows of 1.8 m3/s; on the northern slope of the “Fontanon del Barman” (height 760 m ) with estimated floods of 1.5 m3/s. Two tracing tests (Uranine) of the stream on the bottom of the “Abisso R. Pahor” have shown, in low waters, traces at the “Springs of the Torre Stream” and at the “Springs of the Voidizza Stream”. On the contrary, during a regime due to heavy rainfalls they have shown traces at the “Fontanon del Barman”, thus suggesting a dynamic geologic watershed as a function of the hydrogeological regime.
Key Words: Karstology, Geomorphology, Speleogenesis, Hydrogeology, Tracing test, Mt. Musi, Western Julian Fore-Alps, NE Italy
Introduzione
Il presente lavoro illustra i risultati delle campagne speleologiche sulla catena Cime del Monte Musi, situata nelle Prealpi Giulie occidentali, svolte dal 1990 ad oggi dal Gruppo Speleologico San Giusto (GSSG) di Trieste, che hanno portato alla scoperta ed allo studio del notevole carsismo sotterraneo dell’area. Nel corso di 12 campagne estive, giacché sul versante settentrionale del Musi l'innevamento persiste a lungo ostacolando le ricerche, ed una lunga serie di spedizioni e d’esplorazioni mirate, è stato possibile rilevare 230 grotte, eseguire numerosi rilevamenti geologici e geomorfologici, indagini idrogeologiche, campionamenti di sedimenti ipogei e acque sotterranee, analisi di laboratorio, nonché due test di tracciamento, come pure notevole impegno è stato dedicato alle ricerche biospeleologiche. Tutto questo lavoro ha consentito di pubblicare, da parte degli specialisti coinvolti dal GSSG, una serie di lavori specifici (Anselmi et al., 1997; Anselmi & Semeraro, 1997; Cancian, 1997; Colla & Stoch, 2002), come pure illustrarne i risultati, a scopo divulgativo, in una guida commissionata dall’Ente Parco naturale delle Prealpi Giulie nel cui comprensorio si estende il Musi (Gruppo Speleologico San Giusto, 2001). In particolare, i dati acquisiti hanno consentito di ottenere un quadro del carsismo e della circolazione delle acque sotterranee del Monte Musi, oggetto del presente lavoro di sintesi.
1. Inquadramento geologico
La catena montuosa Cime del Monte Musi (Fig. 1), nelle Prealpi Giulie occidentali, è una dorsale orientata E-W, limitata a N dal Rio Uccea (bacino del Fiume Isonzo), il Rio Canizza ed il Rio Barman (bacino del Torrente Resia, sottobacino del Fiume Fella), ed a Sud dal Torrente Voidizza e dal Torrente Mea (alto bacino del Torrente Torre). La cima più alta è il Monte Musi con 1.869,4 m. La piovosità è la più elevata del sistema alpino: oltre 3.000 mm/medi/annui, con picchi di quasi 5 m/anno (4.882 mm nel 1926 alla stazione di Musi in località Tanataviele, 6.100 mm nel 1960 alla stazione di Uccea).
Le Cime del Monte Musi corrispondono ad un complesso di rocce dolomitiche e calcaree per lo più ascrivibili al Triassico ed al Giurassico (Fig. 2). In particolare, lungo il versante S affiora la Dolomia Principale (Noriano-Rethiano), mentre lungo il versante N affiorano il “Calcare del Dachstein” (Rethiano) e, in successione, calcari oolitici e selciferi giurassici (Lias-Dogger). La struttura dell’area è costituita da una grande monoclinale fagliata secondo E-W, immersa a N. Essa si chiude a meridione lungo la “linea M. Brancot-Caporetto-Circhina”: sovrascorrimento E-W che passa lungo la valle dell’alto Torre. Il versante settentrionale e la zona di cresta del Musi, interessati in grande dal carsismo, sono rappresentati da una successione di diversi tipi litologici; quelli importanti per estensione, spessore, a loro volta funzioni di trasmissività idraulica, sono stati da noi raggruppati in 6 Unità litologiche (UL). Sintetizzando, in accordo con la letteratura geologica esistente, esse sono:
UL A: Dolomia Principale (Noriano, può estendersi fino al Rethiano). Dolomie, da biancastre a grigiastre, talora calcari dolomitici, massici. Stratificazione di 1-2 m.
UL B: Calcare del Dachstein (comprende più facies, inclusi i Calcari di Poscala ed i Calcari dolomitici di Val Venzonassa) (Rethiano). Calcari grigi, grigio chiari, localmente biancastri, definibili come micrite diffusamente ricristallizzata, con banchi a Megalodus. Stratificazione generalmente decimetrica, talora in banchi di 1 m o più. In alto questa unità passa gradualmente ad alternanze di dolomie e calcari dolomitici (“facies mista”)
UL C: “calcari grigi di transizione” (passaggio Retico-Lias inf.) Calcari, generalmente spatizzati, a volte dolomitici, da grigi a grigio scuri, localmente biancastri. Strati variabili da centimetrico-decimetrici a grossi banchi. Facies di transizione tra il Calcare del Dachstein ed i “calcari oolitici”.
UL D: “calcari oolitici” (Lias inf.-medio). Calcari oolitici, grigi-grigio chiari, talora pseudoolitici, alternati con calcari poco o privi di ooliti. Stratificazione compresa tra 50 e 100 cm, talora in banchi. Corrisponde ai Calcari oolitici di Stolaz
UL E: “calcari selciferi” (Lias medio-Dogger). Calcari grigi, di solito spatizzati, talora brecciati, alternati con calcari grigio-nocciola poco spatizzati, talora con noduli di selce marrone-grigio scura. Stratificazione di 10-50 cm. Facies ascrivibili principalmente ai Calcari a Crinoidi ed ai Calcari selciferi della Val Lavaruzza.
UL F: Flysch di Val Uccea (ciclo sedimentario sopracretaceo). Argilliti, argille marnose grigiastre, arenarie grigio scure, alternate in strati sottili, centimetrici, raramente superiori al decimetro, interessate da piccole pieghe.
Il Quaternario del versante N è rappresentato da detrito di falda e di cono, mentre una morena stadiale si trova a S. Anna di Carnizza, attribuibile ad una lingua glaciale che scendeva dal Monte Zaiavor. Un’altro deposito morenico, attribuito al Würm, è localizzato a Lischiazze nella valle del Torrente Barman. Durante il glaciale del Würm il versante N del Musi era occupato da un ghiacciaio, con scorrimento verso W, che andava ad alimentare il ghiacciaio della Val Resia. Sul versante S morene würmiane occupano la valle del Torrente Voidizza, mentre nell’ampia valle del Torrente Mea (alto Torre) probabilmente si trovano sepolte sotto l’imponente coltre detritico-alluvionale.
Per un maggior dettaglio sulla geologia dell’area si rimanda ad Anselmi & Semeraro (1997), Carobene et al. (1981), Carulli et al. (1998); Ceretti (1965), Fantoni et al. (1998), Frascari et al. (1981), Iacuzzi & Vaia (1977, 1981).
I grandi fenomeni carsici, come accennato, sono concentrati sul versante N, nelle facies calcaree, soprattutto nel plateau che è stato intensamente glacializzato (“acrocoro del Musi”), mentre la morfologia del versante S è completamente differente, dominando esclusivamente i solchi torrentizi nelle rocce dolomitiche. Essendo predominanti le rocce carbonatiche l’idrologia è tipicamente carsica, con sorgenti poste ai piedi della catena o nelle gole. Tra le maggiori sorgenti, sul versante N scaturisce il Fontanon di Barman, con la Grotta dell’Uragano che mostrerebbe un tratto del corso ipogeo delle acque, mentre sul versante S scaturiscono il gruppo delle Sorgenti del Torre e, più alto in quota, il vicino gruppo delle Sorgenti del Torrente Voidizza.
2. Geomorfologia dell’acrocoro glaciocarsico del Musi
Il carso dell’acrocoro del Musi (Fig. 2) è interamente sviluppato nelle Unità litologiche B, C e D, mentre l’unità dolomitica affiora sul versante S oltre la linea di cresta. Il versante N, che ospita l’acrocoro, è di tipo strutturale, cioè improntato sulla monoclinale immersa a N, ed è tipico delle zone alpine deglacializzate, con circhi, conche e canaloni di trasfluenza.
L’acrocoro del Musi è costituito da 3 ripiani glaciali. Il più basso, a quota ~1.420-1.450 m, rappresenta la spalla sinistra dell’antico ghiacciaio di valle; innalzandosi seguono l’ampio ripiano a quota ~1.550-1.600 m ed il relitto di ripiano a quota ~1.650 m. A quote superiori ci sono solo forme a circo e poi le pareti che emergevano dall’ice-cap. Il ripiano a quota ~1.550-1.600 m presenta un verrou inciso da piccole soglie e canaloni di trasfluenza; al suo interno si articolano gobbe di rocce montonate e conche glaciocarsiche, di cui la maggiore ha il fondo a quota 1.493 m. Sull’acrocoro, ovunque i calcari sono incisi da microforme carsiche. Lungo le ampie e ripide superfici degli strati del Calcare del Dachstein e dei calcari giurassici (facies oolitica) si sviluppano grandi Wandkarren e Rinnenkarren. Dove vi sono contropendenze, probabilmente dovute a fenomeni di quarring, coesistono forme complesse e piccoli Flachkarren. Il Kluftkarren è la microforma libera onnipresente, soprattutto sulle superfici poco o mediamente inclinate (5-40°); sulle rocce montonate è semi-spianato. Sono assenti le doline.
3. Speleogenesi ed evoluzione geomorfologica delle cavità carsiche
Non sono state notate grandi variazioni morfologiche tra le cavità che si sviluppano nei calcari giurassici e quelle nel Calcare del Dachstein, ambedue facies carbonatiche ben carsificabili. La frequenza delle cavità è più alta nel Calcare del Dachstein, anche se le maggiori grotte si aprono nei “calcari oolitici”; rare sono le cavità sviluppate nei “calcari selciferi”.
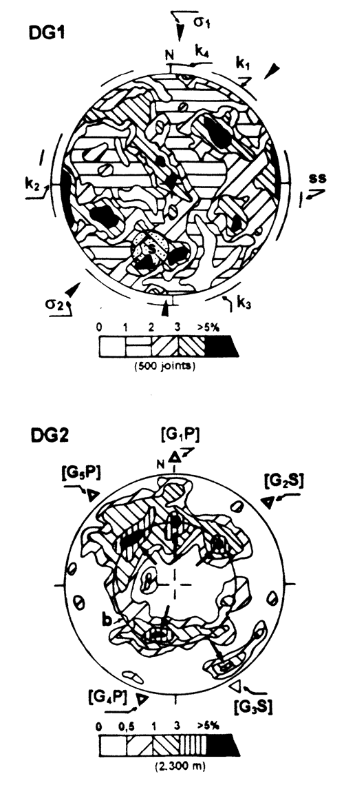
Sull’acrocoro, e zone limitrofe interessate dal carsismo in grande, il rilevamento statistico-strutturale (in funzione delle correlazioni col carsismo) ha mostrato la presenza di 4 sistemi prevalenti di fatturazione legati agli sforzi σ1a e σ1b, rispettivamente N-S e NE-SW, delle fasi Mesoalpina (Paleogene) e Neoalpina (Neogene) (Fig. 3, DG1). Detti sistemi si trovano, quasi sempre, contemporaneamente in posizione di taglio e di tensione. Essi sono: [k1] secondo NNE/NE-SSW/SW, [k2] secondo E/ESE-W/WNW, [k3] secondo SE/SSE-NW/NNW, [k4] secondo N-S. Le faglie e gran parte dei master joints appartengono al sistema [k3], corrispondente al sistema maggiormente incarsito; detto sistema [k3] risulta dominante come sistema di taglio rispetto σ1a tenuto conto di un B=β mesoalpino principale. I piani di stratificazione [ss] sono quasi costantemente attorno E/ESE-W/WNW, con locali oscillazioni di ±10-15° generalmente in prossimità di faglie, ed immersi attorno 50° nel quadrante N.
Per correlare l’andamento delle cavità con l’assetto strutturale sono state studiate statisticamente le cosiddette “progressioni di sviluppo” delle gallerie che, com’è noto, esprimono il senso o verso del drenaggio antico/attuale (Fig. 3, DG2), mentre separatamente sono stati studiati i pozzi. L’analisi, mediante le rette della giacitura (reticolo di Schmidt emisf. inf.), indica la presenza di 5 tra “strutture principali” e “subordinate”, correlabili con i sistemi di discontinuità: le strutture [G1P]®N con il sistema [k4] e i piani [ss], le strutture [G2S]®NE con il sistema [k1], le strutture [G3S]®SE/SSE con il sistema [k3], le strutture [G4P]®S/SSW con il sistema [k4], le strutture [G5P]®NW con i sistemi [k2] e [k3]. L’inclinazione media rientra in una “cintura” di 35-50°: si tratta di valori che si avvicinano all’inclinazione delle fratture e dei piani [ss]. Risulta, inoltre, una debole rotazione in senso orario del campo di sviluppo delle gallerie rispetto ai sistemi di discontinuità: fatto forse attribuibile alla neotettonica, come pure una maggiore “dispersione” per le strutture del settore N/WNW, accompagnata da una minore inclinazione: fatto forse da correlarsi con la “conservazione” dello scheletro delle antiche condotte in regime saturo/semi-saturo. I pozzi, invece, sono “strutture” principalmente correlabili con i sistemi [k3] e [k4], subordinatamente con il sistema [k1]; le successioni di pozzi che caratterizzano i maggiori abissi risultano prevalentemente impostate su fratture e master joints del sistema [k3]. Pur esistendo, teoriche, condizioni favorevoli per lo sviluppo del carsismo di interstrato, questo condiziona solo la parte superficiale delle grotte, dove i piani [ss] più marcati hanno subito fenomeni di tensione per decompressione, o, in particolari casi, alcuni rami.
Le grotte dell’acrocoro sono costituite da 6 morfotipi fondamentali (“macroforme”), di seguito descritti.
Condotte forzate. Trattasi di tubi freatici, soprattutto a sezione ellittica, fossili. Si sviluppano come canalizzazioni interstrato formando interi rami di grotte (Abisso dei Ribelli), oppure, con maggior frequenza come canalizzazioni lungo fratture, di solito “a laminatoio” obliquo (Abisso dei Diedri). Questi “laminatoi”, soprattutto, si trovano alla testa delle brevi forre che raccordano le sequenze di pozzi o alla sommità dei pozzi stessi.
Gallerie a forme miste dissolutive/erosive/clastiche. Trattasi di cavità di difficile classificazione, generalmente di dimensioni più ampie delle forre. Caratterizzate da un andamento suborizzontale, o poco inclinato, e interessate da notevoli crolli, sembrano essere relativamente “antiche”. Esempi interessanti si trovano nella Grotta del Topo Rosso e nella Grotta del Frigo.
Forre. Trattasi di gallerie d’erosione, alte e strette, con accenno a meandrificazione. Sono forme francamente vadose, dovute all’insolcamento dei rivi d’acqua che si formano all’interno della montagna, raccordanti i pozzi. Esistono pure forre di notevoli dimensioni, dovute a portate maggiori, come la forra con anse a meandro pensile sfondato che costituisce la prima parte dell’Abisso “R. Pahor”.
Pozzi cascata. Trattasi di condotti d’erosione incanalata, verticalizzati, con morfologie di erosione regressiva lungo la parete sulla quale precipitava, o precipita ancora, l’acqua in cascata. Come le precedenti, sono cavità formatesi all’interno della montagna. Successioni intere di questi pozzi caratterizzano gran parte delle maggiori grotte dell’acrocoro. Tuttavia l’origine del pozzo, come si è osservato, va ricercata in, piccole, canalizzazioni freatiche primarie. Successioni di grandi pozzi cascata si trovano nell’Abisso “R. Pahor” e nell’Abisso dei Diedri.
Pozzi di corrosione profonda. Trattasi di pozzi “a fessura”, da verticali ad obliqui, stretti verso l’alto mentre verso il basso sono “a campana” o “a semi-fuso” (poco accentuati). È sempre ben visibile la traccia della frattura generatrice e sono privi di segni d’erosione in cascata. Sono stati formati da film d’acqua aggressivi, da percolazione dispersa, come anche, probabilmente, da massicci fenomeni di condensazione; in essi prevale la corrosione, con innalzamento della volta, scarsi sono i crolli sul fondo. Formatisi all’interno della montagna, si trovano dappertutto, associati ai pozzi cascata nei maggiori abissi (Abisso dei Diedri, etc.), nelle grotte di minori dimensioni (Grotta U3, etc.), o anche troncati dall’erosione del versante (Pozzo del Monte Musi, etc.).
Pozzetti di corrosione superficiale. Trattasi di pozzetti più o meno inclinati, normalmente poco profondi (max ~10-20 m), appunto superficiali, la cui genesi è attribuibile a processi direttamente dipendenti dall’esterno. Sono cavità di frattura, spesso “a trincea”, meno d’interstrato, originatesi da film d’acqua, ruscellamenti, etc., drenati dai Kluftkarren, come pure sono piccoli inghiottitoi che raccolgono l’acqua dei Rinnenkarren o dai canaloni. Tutte queste piccole cavità ospitano tappi di neve che si conservano a lungo non essendovi, generalmente, comunicazione con le cavità all’interno della montagna e quindi circolazione d’aria. Talora sono forme “miste” con il morfotipo precedente. Tra i molti pozzetti esplorati citiamo p.es. il Pozzo del Sepolcro, il Pozzo G3, mentre per le forme “miste” i pozzi di collegamento con l’esterno dell’Abisso Freezer.
L’analisi globale dei morfotipi mostra come nella “zona di percolazione” sia predominante un complesso di cavità formate da pozzi cascata e forre, parzialmente derivate dai tubi freatici, cui si associano pozzi di corrosione profonda. Si tratta cioè un quadro consueto nel carsismo alpino (Ford & Williams, 1996; Klimchouk et al. (Eds), 2000; Maire, 1990; etc.). L’insieme è un sistema ipogeo in costante evoluzione, specie nelle parti profonde dove più copiosi sono gli arrivi d’acqua. Lo sviluppo di questo grande reticolo di cavità risulta sottostante all’acrocoro, insediato nelle litofacies più carsificabili. I tubi freatici descritti sono forme “fossili”, tuttavia nell’attuale zona di percolazione può agire tuttora la speleogenesi freatica lungo quelle discontinuità non ancora sufficientemente ampie da smaltire l’acqua in regime vadoso, com’è stato osservato. Ciò però consente lo sviluppo di tubi freatici di assai ridotte dimensioni. La grotta di maggiori dimensioni è l’Abisso “R. Pahor” (Fig. 4) (q. 1.425 m), profondo 495 m con uno sviluppo di 1.091,5 m, formato da vari rami: pozzi e forre assolutamente prevalenti, taluni rami sono inclinati causa le condizioni geostrutturali, alcuni “fossili” altri attivi; l’ingresso è situato sul ripiano a q. ~1.420-1.450 m, spalla dell’antico ghiacciaio. Ad W, ai piedi del versante S del Musi (“canalone di Barman”), si sviluppa la Grotta dell’Uragano (q. 796 m), lunga 743 m con un dislivello positivo di 133 m, formata da una serie di gallerie alte “fossili” e da condotte semi-allagate o sifonanti, costituenti il livello basso della cavità, percorso da un torrente.
4. Depositi di riempimento endocarsici
Alcuni rami delle grotte del Musi sono caratterizzati da notevoli depositi di crollo. I fenomeni di crolli, soprattutto scivolamenti di grossi volumi rocciosi, sono presenti in particolare nelle grandi cavità inclinate legate alle strutture [G1P]®N sviluppatesi sul sistema [k4] e sui piani [ss] ed alle strutture [G2S]®NE sviluppatesi sul sistema [k1] (Abisso dei Ribelli, etc.), grazie al favorevole quadro geomeccanico. I depositi calcitici sono quasi totalmente assenti. Sono stati rinvenuti solo alcuni veli e incrostazioni lungo dei pozzi (p. es. “pozzo dei delfini” nell’Abisso “R. Pahor) e delle piccole “concrezioni globulari”. Abbastanza diffusa è la presenza di Mondmilch (Grotta dello Sciancato, Grotta dell’Eremita, etc.); l’ambiente di deposizione sembra essere quello iper-umido, alimentato dalla percolazione lungo i joints proveniente dai Karren soprastanti (non sono stati eseguiti studi specifici).
Alcune grotte contengono depositi di sedimenti, generalmente fini, talora compattati. Essi sono stati studiati da Cancian (1997). Limi prelevati sul fondo dell’Abisso “R. Pahor” presentano la seguente composizione mineralogica: calcite 46%, dolomite 26%, fillosilicati 20%, quarzo 7%, feldispati 1%; sabbie fini prelevate nella Grotta dell’Uragano presentano la seguente composizione mineralogica: calcite 16-18%, dolomite 72-80%, quarzo 4-9%, muscovite e clorite in tracce. I principali fillosilicati sono illite/muscovite (56% nell’Abisso “R. Pahor” e 54-55% nella Grotta dell’Uragano), mentre secondariamente compare la clorite. Si tratta di sedimenti molto simili tra loro che potrebbero avere un’origine comune, cioè dalla Dolomia Principale e dai calcari soprastanti che caratterizzano l’intero spessore del karst.
In diverse grotte vi sono dei depositi di ghiaccio perenni (p. es. nella Caverna Grande, nell’Abisso Freezer); si suppone che essi derivino dagli effetti dell’accumulo (pressione), ed in particolare siano legati a fenomeni di rigelo.
Fino ad oggi nelle cavità del Musi non sono stati rinvenuti depositi morenici consistenti, come invece nella catena immediatamente retrostante del Monte Canin e, più in generale, in molti (ma più imponenti) karst delle catene alpine e peripacifiche (Calandri, 1989; Maire, 1990 ; Semeraro, 2000; etc.). Ciò significherebbe non tanto un limitato ruolo delle acque subglaciali, per lo meno nel Würm, poiché chiare evidenze geomorfologiche lo confermano (Anselmi & Semeraro, 1997), quanto invece una più debole dinamicità ed azione erosiva del ghiacciaio del Musi.
5. Caratteristiche idrogeologiche
Le rocce carbonatiche che formano la catena del Musi sono quasi totalmente rappresentate da dolomie, calcari dolomitici e calcari, tutti a vario grado di carsificabilità, tale da consentire, in generale, una notevole infiltrazione delle acque nel sottosuolo. In questo contesto pure la Dolomia Principale, meno carsificabile delle facies francamente calcaree, presenta condizioni tali, date da piani di strato beanti ed alternanze con calcari dolomitici, da consentire lo sviluppo del carsismo in forma ridotta con una circolazione idrica sotterranea in ogni caso notevole. Le litologie maggiormente carsificabili si trovano in corrispondenza del versante N, dove affiorano, e si estendono in profondità, calcari del Triassico e del Giurassico ad elevata permeabilità (Calcare del Dachstein, “calcari oolitici”, localmente i “calcari selciferi”, le facies di transizione, etc.). Soltanto alcune litologie, peraltro di limitata estensione, risultano essere molto poco incarsite, come dei calcari marnosi del Cretacico o dei calcari selciferi del Malm. Le uniche rocce non carsificabili sono rappresentate dalle argilliti, marne e arenarie del Flysch di Val Uccea, impermeabili, che però formano una tamponatura solo ai piedi della parte orientale del versante N. Di fondamentale importanza è l’esistenza di grandi fratture in posizione “bc” che interessano tutta la monoclinale del Musi e che drenano con facilità gli afflussi pluvio-nivali in profondità, come già messo in evidenza da Iacuzzi & Vaia (1975), come pure altrettanto importanti per il drenaggio sono le grandi fratture in posizione “hkl/hk0” (taglio principale) rispetto al B=β principale evidenziate da Anselmi & Semeraro (1997). In sostanza, sarebbero soprattutto queste ultime fratture in posizione subnormale alla catena, beanti, a rappresentare i maggiori dreni verso S delle acque sotterranee del massiccio. Altri acquiferi sono costituiti dalle alluvioni, molto potenti, del Torrente Mea (dell’ordine delle decine di metri nella parte inferiore della Valle di Musi), e dalle morene depositate nella valle del Torrente Voidizza. Ambedue alimenterebbero le rocce carbonatiche soggiacenti. L’attuale infiltrazione è notevole: le isoiete dell’area sono di oltre 3.000 mm/annui, e sulle alte quote del Musi stimiamo normali le precipitazioni di oltre 3.500 mm/annui (Verri et al., 1982), anche tenendo conto che le precipitazioni invernali sull’area alpina sono in diminuzione (Cacciamani et al., 1999), ciò a fronte di un’evapotraspirazione relativamente bassa. Per quanto riguarda il solo acrocoro del Musi (che costituisce l’area privilegiata per la ricarica dell’acquifero carbonatico), valutando un “bacino” scolante principale di ~5,5 km², al netto dell’evapotraspirazione (Er = 14,2%), otterremo un deflusso teorico di 0,5 m3/s/giorno, con forti riduzioni nel periodo invernale (dopo l’innevamento e la formazione di tappi di ghiaccio nelle grotte) e forti incrementi per il restante periodo ad eccezione delle magre estive.
Le più grosse sorgenti del versante S, le Sorgenti del Torre (q. 529-532 m s.l.m.), sarebbero alimentate, secondo Iacuzzi & Vaia (1975), dalle acque di subalvea del Torrente Mea, forse da acque infiltrate dalla monoclinale calcarea corrispondente alla dorsale dei monti Sorochiplàs e Postòncicco (posta a S) (Mosetti, 1989), ed infine dalle acque infiltrate in gran parte della catena del Musi. Sul versante S, nelle profonde gole dolomitiche, numerose sono le piccole sorgenti in quota, non solo temporanee/effimere ma pure qualcuna perenne, legate a piccole falde sospese. Sul versante N, invece, il Fontanon di Barman (q. 760 m s.l.m.) drenerebbe acque dalla zona occidentale del versante (località Poscala), come pure anche dal circo del Musi, come già ipotizzato da De Gasperi (1915). Detto “fontanone” (grossa sorgente carsica nella parlata friulana) sarebbe (il collegamento non è ancora provato) l’uscita delle acque scorrenti nella soprastante Grotta dell’Uragano, che scompaiono nell’inghiottitoio interno posto poco prima dell’ingresso: un fenomeno connesso con l’utilizzo di fratture di trazione legate alla decompressione del versante (Balbiano d’Aramengo & Vigna, 1989; Renault, 1969) L’ipotesi di drenaggi profondi della catena del Musi, con uno spartiacque geologico più avanzato a N rispetto a quello idrografico, come già supposto dai citati Autori che hanno valutato per le Sorgenti del Torre un eccesso di portate rispetto al bilancio idrologico, è stata convalidata da Anselmi et al. (1997) accertando importanti zone d’alimentazione sul versante N in corrispondenza delle aree interessate dai grandi fenomeni carsici ipogei.
6. L’idrostruttura carsica e le caratteristiche fisico-chimiche delle acque sotterranee
Sulla catena, le acque meteoriche e di fusione nivale s’infiltrano rapidamente in profondità, alimentando la falda in rete (“falda di base”), anche se sul più ripido versante S, dolomitico, i solchi torrentizi scaricano un’aliquota importante d’acqua (non esattamente quantificabile) nelle potenti alluvioni dell’alta valle del Torre. L’acquifero carbonatico drena verso S-SW, verso il punto di massima depressione della falda rappresentato dalle Sorgenti in sinistra del Torrente Voidizza (q. media 653 m s.l.m., portate Qmed 10-11 l/s) e dalle Sorgenti del Torre (q. 529-532 m s.l.m., portata Qmed 1,8 m³/s) (Fig. 2). Le Sorgenti del Torre sarebbero alimentate, presumibilmente, da acque di risalita, profonde, per lo più provenienti dal circuito carsico dei calcari e delle dolomie, come indicano le temperature relativamente basse e il rapporto Mg/Ca variabile tra 0,48-0,32; mentre le più alte Sorgenti in sinistra del Torrente Voidizza sarebbero alimentate soprattutto da acque della falda superficiale, con importanti derivazioni dalle rocce dolomitiche, come indicano le temperature di 4°C più alte rispetto alle Sorgenti del Torre e un tenore di Mg maggiore, con un rapporto Mg/Ca 0,54. Si noti che le sorgenti minori del versante S (sorgenti Zeleni, Zaturan e Tapotamor), legate a piccole falde sospese nella Dolomia Principale, presentano un rapporto Mg/Ca 0,46. L’acquifero drena pure verso NW: il Fontanon di Barman (q. 760 m s.l.m., piene stimate di Q ≥1,5 m³/s), con il soprastante torrente perenne della Grotta dell’Uragano (portate medie stimate attorno Q ≥50 l/s ed in piena attorno Q ≥0,5-1 m³/s), ha carattere di risorgenza sospesa, grazie all’esistenza di grossi condotti carsici (Fig. 2). La Grotta dell’Uragano costituisce la parte terminale del collettore dell’area N che possiede, per lo meno nella regione d’uscita, carattere di “dreno dominante”: risultato di più di una fluttuazione del livello freatico, con “fossilizzazione” di una serie di condotte superiori. I dati fisico-chimici ed i risultati dei tracciamenti indicherebbero l’esistenza di uno spartiacque geologico dinamico, in stretta funzione del carico idraulico, che migrerebbe verso S durante le magre e, probabilmente velocemente, verso N durante le piene grazie alla maggior trasmissività funzione del carsismo del versante settentrionale. Tra l’altro, dai dati geochimici risulta che le acque sorgenti dal “canalone del Barman”, ovvero il Fontanon di Barman ed altri apporti al Rio Barman, presentano un rapporto Mg/Ca 0,18 evidenziando il dominio calcareo, cui si devono aggiungere le temperature più basse in assoluto (magra) (0,7-1°C in meno rispetto alle Sorgenti del Torre). In ogni caso, tutte le acque della falda carsica presentano mediamente bassi valori di Ca2+ (28,0-32,9 mg/l) e di Mg2+ (5,8-18,2 mg/l), tipici degli scorrimenti veloci. Il contatto, localmente tettonico o stratigrafico, tra le dolomie “mediamente permeabili” ed i calcari “ad alta permeabilità”, allo stato attuale delle conoscenze, può essere considerato un limite passivo di scarso interesse idrogeologico giacché provocherebbe, forse, solo un aumento del gradiente idraulico. Dai dati idraulici e geochimici si evidenzierebbe quindi un sistema notevolmente incarsito ma non omogeneo, suddivisibile in due zone. La zona settentrionale, caratterizzata da grossi condotti, con una zona satura estremamente ridotta (o quasi inesistente). La zona meridionale, caratterizzata invece da condotti a pieno carico (forse reti di “laminatoi” nella Dolomia Principale), che si svuotano assai meno rapidamente dei precedenti poiché le sorgenti di base sono sostenute da una falda profonda, come risulta dagli idrogrammi delle Sorgenti del Torre e dagli scarti quasi nulli degli ioni Ca e Mg tra regimi di magra e piena che caratterizzano queste sorgenti, in accordo con Anselmi & Semeraro (1997) e Iacuzzi & Vaia (1975).
In particolare, per l’acquifero carbonatico basale si posseggono numerose analisi fisico-chimiche e microbiologiche recenti sulle Sorgenti del Torre, eseguite dal Consorzio Acquedotti Friuli Centrale (Udine) quale gestore dell’opera di presa. Serie di analisi comprendenti un periodo tra il 1996 e il 1999 indicano una conducibilità K25 tra 186 e 215 mS/cm ed una durezza totale (TH) tra 11 e 13 °F, i cloruri Cl– sono tra 0,8 e 1,3 mg/l, i nitrati NO3– tra 2,8 e 4 mg/l, i solfati SO42- tra 2 e 3 mg/l; dal punto di vista batteriologico i coliformi totali sono pressoché assenti, o nella norma, occasionalmente alcune punte si sono verificate nel periodo estivo, mentre i coliformi fecali sono assenti.
In generale, valgono poi le seguenti considerazioni. Tutte le acque carsiche della catena sono poco mineralizzate. Il rapporto Mg/Ca è più basso per le acque del versante settentrionale che, infatti, scorrono entro calcari, mentre più ricche di magnesio sono le acque sorgive del versante meridionale ed in particolare quelle delle Sorgenti in sinistra del Torrente Voidizza. La bassa temperatura delle acque delle Sorgenti del Torre, simile a quella del Fontanon di Barman, indica una consistente alimentazione dalle alte quote ed una lunga residenza in profondità, mentre la loro composizione farebbe pensare ad un mixing tra acque delle aree settentrionali, più povere di magnesio, e acque delle aree meridionali, invece più ricche.
7. I test di tracciamento
Sono stati effettuati due test di tracciamento, iniettando sempre Uranina (sale sodico della Fluoresceina, di formula chimica C20H10Na2O5) preventivamente diluita nel ruscello che scorre nella parte terminale dell’Abisso “R. Pahor”, alla profondità di circa 480 metri dall’ingresso ovvero alla quota di circa 945 m s.l.m. La prima immissione del tracciante, con 1 kg di Uranina, è stata effettuata alle ore 15.15 del giorno 20.09.1997 (Anselmi et al., 1997), la seconda immissione (dati inediti), con 2,5 kg di Uranina, è stata effettuata il giorno 12.09.1999 alle ore 21.00. Ambedue le volte il ruscello presentava una portata stimata di ~0,3 l/s. In tutti due i test sono stati controllate le stesse sorgenti e acque superficiali: Fontanon di Barman, Rio Barman, Sorgente del Rio Tapotamon, Sorgente del Rio Zeleni, Sorgente del Rio Zaturan, Sorgente in sinistra del Torrente Voidizza (la sorgente maggiore), Sorgenti del Torre. Il 2° test è stato preceduto da prelievi d’acqua per le analisi “in bianco”. Il controllo, dalle immissioni, si è protratto per 9 giorni nel 1° test e per 27 giorni nel 2° test, eseguendo periodicamente prelievi d’acqua e posando fluocaptori (carboni attivi).
Le correlazioni con le precipitazioni sono state eseguite utilizzando i dati del pluviometro di Uccea (dati 1997) e del pluviometro di Pulfero (dati 1997 e 1999). Precisiamo perciò che il 1° test è avvenuto durante un periodo di forte magra (le precipitazioni precedenti all’immissione furono di 100-120 mm nei giorni 13-14.09.1997), mentre durante il 2° test, successivamente all’immissione (avvenuta in magra, le precipitazioni precedenti all’immissione furono di 15 mm nei giorni 29-30.08.1999), si verificarono notevoli precipitazioni (17 mm il 19.09.1999 e 94 mm nei giorni 27-29.09.1999), tanto che corsi d’acqua e sorgenti presentavano un regime violentemente torrentizio. In quest’ultima occasione, nonostante gli accorgimenti tecnici adottati (fluocaptori di robusta costruzione e posti in doppio, cavi e fissaggi anch’essi robusti, etc.), si è riscontrato la rottura di alcuni fluocaptori, il loro inghiaiamento o la loro perdita; tuttavia, grazie alle precauzioni, si è potuto comunque disporre di una serie completa di fluocaptori.
Le analisi, dei campioni d’acqua e degli estratti, nel 1° test sono state effettuate mediante un HPLC accoppiato al rivelatore spettrofluorimetrico, nel 2° test mediante uno spettrofluorimetro, mentre osservazioni speditive o di controllo sono state eseguite alla lampada di Wood. Dalla rielaborazione dei vecchi dati (1° test) e dall’elaborazione dei dati nuovi (2° test) risulta quanto segue. Durante il 1° test sono state rilevate tracce di Uranina negli estratti delle Sorgenti del Torre e della Sorgente in sinistra del Torrente Voidizza, dubitativamente nel Rio Barman, mentre nei campioni d’acqua i risultati non sono stati apprezzabili; ciò al controllo eseguito il 28.09.1997 cioè ad 8 giorni dall’immissione. Durante il 2° test sono state rilevate tracce di Uranina sia negli estratti sia nei campioni d’acqua del Rio Barman e del Fontanon di Barman al controllo eseguito il 19.09.1999, cioè a 7 giorni dall’immissione, mentre al controllo del 25.09.1999 dette tracce si rilevavano esclusivamente al Fontanon di Barman. Al di là dell’importanza di questi dati, i risultati dei due test di tracciamento (Fig. 2) si possono considerare solo di tipo qualitativo. I risultati dei due test esprimono però, abbastanza bene, come avvenga la circolazione delle acque nell’acquifero carsico in condizioni di magra e di piena. Precisiamo che nel 1° test, in magra, le Sorgenti del Torre (allo scaricatore dell’opera di presa) presentavano una portata costante di 250 l/s, la Sorgente in sinistra del Torrente Voidizza decrementava da 10 a 7 l/s, il Fontanon di Barman variava fino a 10 l/s, mentre il Rio Barman decrementava da 350 a 30 l/s; nel 2° test si formava invece una piena, le Sorgenti del Torre (allo scaricatore) incrementavano la portata da 600 a 1.400 l/s, per la Sorgente in sinistra del Torrente Voidizza non si posseggono misure, il Fontanon di Barman incrementava da 200 a 900 l/s, mentre il Rio Barman incrementava da 500 a 1.000 l/s. Durante il 1° test, in magra, il livello piezometrico della falda di base si abbassava, drenando le riserve dei settori più settentrionali e facendo defluire le acque tracciate nell’Abisso “R. Pahor” alle Sorgenti del Torre. Durante il 2° test invece, con la piena, si attivava al Fontanon di Barman un rapido deflusso delle acque assorbite dall’acrocoro del Musi, e così pure quelle tracciate con Uranina nell’Abisso “R. Pahor”, dimostrando il collegamento probabilmente attraverso grossi condotti carsici.
8. Conclusioni
Il carso del Monte Musi è di tipo alpino, prevalentemente insediato nell’acrocoro del versante N. Le cavità sono soprattutto sistemi di pozzi e forre, anche inclinati, ma non mancano esempi di antiche condotte freatiche poste alle alte quote e tagliate dall’erosione glaciale o dall’arretramento del versante. Il carsismo ha soprattutto agito nelle facies calcaree retico-liassiche, ma anche la Dolomia Principale n’è stata interessata, sia pure in modo assai ridotto. Questa zona di percolazione drena rapidamente le acque in profondità, portandole verso le quote dei livelli sorgivi. La zona satura sembra essere di minimo spessore, specialmente sul versante N dove è quasi inesistente. L’acquifero drena verso S, in corrispondenza delle maggiori sorgenti poste alle quote più basse (alto Torre), come pure drena verso N, verso il “canalone di Barman”, dove esiste una notevole circolazione residua in condotte epifreatiche e freatiche, tuttora alte in quota a causa della velocità con cui la forra si è scavata. Il carso del Musi è il risultato di una lunga evoluzione probabilmente iniziatasi nel Terziario, mentre il Quaternario, con le glaciazioni e le erosioni vallive, ha determinato il forte approfondimento dei sistemi di cavità e, conseguentemente, la demolizione e la scomparsa delle antiche, più alte, zone d’alimentazione.
Ringraziamenti
Ringraziamo Fabio Gemiti già direttore del laboratorio analisi e controllo dell’AC.E.GA.S S.p.A. (Trieste) e Sergio Predonzani capo dei laboratori del Laboratorio di Biologia Marina (Trieste) per le analisi fluorimetriche; Enio Decorte, già direttore del laboratorio del Consorzio Acquedotti Friuli Centrale (Udine), per la fornitura delle analisi chimiche sulle Sorgenti del Torre. L’Ufficio Idrografico di Udine (Presidenza Cons. Min.) ha cortesemente fornito i dati pluviometrici delle stazioni funzionanti nell’area. In particolare ringraziamo Furio Premiani, speleologo responsabile di tutte le campagne esplorative sul Musi, che ha materialmente ordinato ed elaborato l’ingente massa di dati speleologici raccolti, che hanno costituito fondamento del presente lavoro; infine tutti i membri del Gruppo Speleologico San Giusto che per 12 anni, senza interruzione, hanno dato il loro contributo per l’esplorazione e la documentazione del carsismo del Musi, come pure gli altri speleologi italiani e stranieri che, negli anni, hanno fornito al GSSG una valida collaborazione.
Summary
The karst phenomenon and hydrogeology of the Peaks of the Musi Mountains (Western Julian Fore-Alps)
The present work sums up the results of the speleological researches on the chain of the Peaks of the Musi Mountains placed in the Western Julian Fore-Alps. Since 1990 up to now “Gruppo Speleologico San Giusto” (GSSG) of Trieste have carried out these works, which led to the discovery and study of the remarkable underground karst phenomenon of this area.
The chain is oriented towards east-west between the valleys of the streams Carnizza and Uccea to the north and the Musi valley towards the south. The area is delimited to the south by the “Mt. Brancot -Caporetto-Circhina line” (“Brancot line”) and to the north by the “Mt. S. Simeone-Clapon of Mai-Uccea line” (“Uccea line”) both oriented east-west/east south east west north west. It is represented by a unicline dipping north, made up of carbonate rocks of the Triassic and of the Jurassic with Cretaceous bordering flysch rocks to the north.
The northern slope and the crest area of the Musi are represented by a sequence of different lithological types encompassed between the Norian and the Cretaceous. This sequence has been divided into 6 lithological units (LU): LU- A: “Dolomia principale”, LU-B: “Calcare del Dachstein”, LU- C: “grey transitional limestones”, LU-D: “oolitic limestones” LU- E: “cherty limestones”, LU-F: “Flysch of the Uccea Valley”. The karst of the plateau of the Musi, which is located on the northern slope, wholly develops in the calcareous facies of the LU-B, C and D, while the dolomite unit crops out on the southern slope beyond the crest line.
The northern slope is structural and it is typical of the alpine areas that are deglaciated by now and it includes cirques, depressions and flow gullies. On the plateau speleological researches enabled 230 caves to be discovered. No big morphological variations have been noticed between the cavities that develop in the Jurassic limestones and those in the “Calcare del Dachstein”, which are both highly karstified carbonate facies. The cavities that develop in the “cherty limestones” are rare. On the plateau the biggest cave is “R. Pahor Abyss” that opens at 1,425 m above the sea-level; it is 495 m deep and has a development of 1,091.5 m; while to the west in the “canalone del Barman” (Barman gully), at the foot of the southern slope of the Musi, the “Grotta dell’Uragano” develops from its entrance at the height of 796 m above the sea-level; it is 743 m long with a difference in level of 133 m.
Considering only the karstified plateau the predominant joint systems are four, linked to the stresses σ1a and σ1b, respectively north-south, north east-south west, belonging to the phases Mesoalpine (Paleogene) and Neoalpine (Neogene). In most of the cases they find themselves in shear and tension position at the same time. They are: [k1] north north east/north east-south south west/south west, [k2] east/east south east-west/west north west, [k3] south east/ south south east-north west/north north west, [k4] north-south. The faults and most of the master joints belong to the system [k3] that is the mostly karstified system. Considering a B= β main mesoalpine, the shear system [k3] becomes predominant with respect to σ1a. The stratification planes are around east/east south east-west/west north west, dipping north at around 50°.
The morpho-structural statistical analysis of the gallery-shaped cavities [G] shows 5 main and subordinate “structures” [P = main, S = secondary, the indication → indicates the versus], which can be linked to the discontinuity systems: the structures [G1P→N] with the system [k4] and the planes ss, the structures [G2S→ NE] with the system [k1], the structures [G3S→SE/SSE] with the system [k3], the structures [G4P→S/SSW] with the system [k4], the structures [G5P→NW] with the systems [k2] and [k3]. As for the pits, the “structures” mainly correlate with the systems [k3] and [k4] and subordinately with the system [k1]; the sequence s of pits that characterise the major abysses predominantly develop on joints and master joints of the system [k3].
The underground “macroforms” can be classified in 6 morphotypes: 1) Phreatic conduits. 2) Mixed forms dissolutive/erosive/clastic galleries. 3) Gorges. 4) Cascade pits. 5) Deep corrosion pits. 6) Surface corrosion small pits. In the “percolating area” a series of cascade pits and gorges, partially derived from phreatic tubes, is predominant. Deep corrosion pits are associated to them. The cavity net is located under the glacial plateau, forming a “pseudo-basin” in highly karstified lithofacies.
In the caves of the Musi the calcitic deposits are almost totally absent. In some caves deposits of fine, sometimes consolidated sediments have been found. On the bottom of “R. Pahor Abyss” there are some silt with the following mineralogical composition: calcite 46%, dolomite 26%, phyllosillicate 20%, quartz 7%, and feldspars 1%; in the “Grotta dell’Uragano” there are fine sands with the following mineralogical composition: calcite 16-18%, dolomite 72-80%, quartz 4-9%, and traces of muscovite and chloride.
The most important springs of the southern slope, in the Musi Valley to the right of the stream Torre, are the “Group of springs on the left slope of the stream Voidizza”, average height 653 m, with flow Qmed = 10-11 l/s and the “Spring of Torre”, at the height 529-532 m, with flow Qmed = 1.8 m³/s. The main spring of the northern slope is localised along the “canalone del Barman” (Barman gully). Here the following caves are located: “Grotta dell’Uragano” at the height of 796 m, with a perennial internal stream with an average flow estimated around Q³ 50 l/s and in flood around Q³0.5-1 m³/s. The biggest karstic spring is “Fontanon di Barman” (Barman Spring) at the height of 760 m, where floods with Q³ 1.5 m³/s are estimated. In the highly karstified limestones, instead, a remarkable net of canalisations has developed. Here the passage between shaft flow and large conduit flow occurs within a few dozens of metres: at the height of 930 m in the “R. Pahor Abyss” the stream is still vadose, although there are traces of siphoning, at the height of 845 m in the “Grotta dell’Uragano” the canalisations of the active level are epiphreatic. On the high altitudes of the Musi rainfalls over 3,500 mm/year are estimated, with a relatively low evapotranspiration Er calculated at 14.2%. Since the dripping “basin” of the plateau of the Musi has an area of ~5.5 km² an average theoretical flow of 0.5 m²/s/die will be obtained.
Two tracing tests have been carried out in the waters that flow on the bottom of “R. Pahor Abyss” using Uranine. Therefore, it has been demonstrated in this way that the waters normally drain towards the “canalone del Barman” (Barman gully), whereas during low waters they would flow also towards the maximum point of depression of the aquifer that is the “Springs of the Torre” and the “Group of springs on the left slope of the S. Voidizza”. The dynamic underground watershed would migrate towards the south during low waters and, probably quickly, towards the north during floods. All the underground karstic waters have low values of Ca²+ (28-32.9 mg/l), Mg²+ (5.8-1.8 mg/l) and of Cl– (0.3-0.8 mg/l), typical of the quick flows. The either tectonic or stratigraphic contact between the “on the average” permeable dolomites and the “highly permeable” limestones may be considered, to a large extent, a passive limit of little hydrogeological interest since it would provoke only an increase in the piezometric gradient. This contact, instead, on the extent of the karstic canalisations in limestones, would become more important, “driving” the outflow towards the north, along the structure, and towards the way-outs of the “canalone del Barman” (Barman gully).
BIBLIOGRAFIA
Anselmi M., Gemiti F. & Semeraro R., 1997. Underground water tracing of the karst of Mt. Musi (Western Julian Fore-Alps). Ipogea, 2: 223-230.
Anselmi M. & Semeraro R., 1997. Il carsismo delle Cime del Monte Musi (Prealpi Giulie occidentali). Ipogea, 2: 151-215.
Balbiano d’Aramengo C. & Vigna B., 1989. L’influenza dei processi distensivi sulla morfologia delle risorgenze. Atti XV Congr. Naz. Spel., Castellana Grotte 1987 : 583-598.
Cacciamani C., Lazzeri M., Quadrelli R. & Tibaldi S., 1999. Analisi climatologia della precipitazione nel bacino padano-adriatico e nella regione alpina. Atti del 3° Conv. Naz. Protezione e Gestione Acque Sotterranee per il III Millennio, Parma 1999, Quad. Geol. Appl., 2-1999, suppl. 2, (2): 3.90-3.99.
Calandri G., 1989. Rapporti tra glacialismo e carsificazione sui versanti meridionali delle Alpi Liguri. Atti XV Congr. Naz. Spel., Castellana Grotte 1987 : 83-94.
Cancian G., 1997. Some mineralogical aspects of sands and silts in the caves of Peaks of the Musi Mountains (Western Julian Fore-Alps). Ipogea, 2: 217-222.
Carobene L., Carulli G.B. & Vaia F., 1981. Foglio 25 Udine. In A. Castellarin (a cura di), Carta tettonica delle Alpi Meridionali (alla scala 1:200.000), Pubbl. n. 441, Prog. Fin. Geodinamica (S.P.5): 39-45.
Carulli G.B., Fantoni R., Masetti D., Ponton M., Trincianti E., Trombetta G.L. & Venturini S., 1998. Analisi di facies e proposta di revisione stratigrafica del Triassico superiore del Sudalpino orientale. Atti Ticinesi Sc. Terra, 1998 (s. spec.) 7: 159-183.
Ceretti E., 1965. La geologia del gruppo del M. Plauris (Carnia). Giorn. Geol., s. 2a, 33 (1): 1-38.
Colla A. & Stoch F., 2002. Prime ricerche biospeleologiche nelle grotte dei Monti Musi (Parco naturale delle Prealpi Giulie). Atti Mus. Civ. St. Nat. Trieste, 49: 93-112.
De Gasperi G.B., 1915. Grotte e voragini del Friuli. Rist. anast. 1983 di Mondo sotterraneo, 11 (1-6), Udine: 219 pp.
Fantoni R., Longo Salvador G., Podda F., Ponton M. & Scotti P., 1998. L’unità a laminiti organiche nel Norico del Rio Resartico (Val Resia, Prealpi Giulie). Atti Ticinesi Sc. Terra, 1998 (s. spec.) 7: 109-123.
Ford D.C. & Williams P.W., 1996. Karst Geomorpholohy and Hydrology. Chapman & Hall (1st ed. 1991), London: 601 pp.
Frascari F., Spalletta C., Vai G.B. & Venturini C., 1981. Foglio 14 Pontebba. In A. Castellarin (a cura di), Carta tettonica delle Alpi Meridionali (alla scala 1:200.000). Pubbl. n. 441, Prog. Fin. Geodinamica (S.P.5): 23-30.
Gruppo Speleologico San Giusto (a cura di), 2001. Il Parco naturale delle Prealpi Giulie. 6 / Grotte e Speleologia (con contributi di M. Anselmi, C. Brun, R. Carosi, G. Casagrande, G. Colombo, P. Malandrino, P. Manca & F. Premiani). Regione Autonoma Friuli-Venezia Giulia, Ente Parco Naturale Prealpi Giulie, Litografia Designgraf, Campoformido (Udine): 54 pp.
Iacuzzi R. & Vaia F., 1975. Aspetti idrogeologici del bacino montano del T. Torre (Friuli). Atti Mem. Comm. Grotte “E. Boegan”, 15: 73-107.
Iacuzzi R. & Vaia F., 1977. Studio geomorfologico dell'alto bacino del Torre (Friuli). Ist. Geol. Univ. Trieste, Ed. Grillo, Udine: 44 pp.
Iacuzzi R. & Vaia F., 1981. Carte tematiche del territorio della Comunità Montana delle valli del Torre. Contributo alla pianificazione territoriale. Note illustrative. Comunità Montana delle valli del Torre, Tarcento: 19 pp., 6 Tavv.
Klimchouk B., Ford D.C., Palmer A.N. & Dreybrodt W. (Eds.) (2000). Speleogenesis. Evolution of Karst Aquifers. Nat. Spel. Soc., Jan. 2000 Ed.Huntsville, Alabama, U.S.A., 527 pp.
Maire R., 1990. Le haute montagne calcaire. Karst. Cavités. Remplissages Quaternarie. Paléoclimats. Karstologia, Mémoires 3-1990: 731 pp.
Mosetti F., 1989. Carsismo e idrologia carsica nel Friuli-Venezia Giulia. Quad. E.T.P., 17:159 pp.
Renault P., 1969. Influence des pressions de terrain sur la genèse des réseaux de cavernes. Act. 3e Congr. suisse spéléo., Interlaken: 54-63.
Semeraro R., 2000. A hypotesis of paleogeography in the Western Julian Alps and its role in the karstic development of Mt. Canin. Ipogea, 3: 117-166.
Verri G., Volpi G. & Gambolati G. (a cura di), 1982. Mappatura automatica delle risorse idriche regionali. Regione Autonoma Friuli-Venezia Giulia; Dir. Reg. Lavori Pubblici; Serv. Idraulica: 67 pp.

Fig. 1. Ubicazione dell’area. Location of the area.

Fig. 2. Schema geologico, geomorfologico e idrogeologico della zona delle Cime del Monte Musi [tratto da Anselmi & Semeraro (1997), Ceretti (1965), Iacuzzi & Vaia (1977, 1981)]. Legenda: 1 = dolomie prevalenti (Triassico) (UL A); 2 = calcari e calcari dolomitici (Triassico) (UL B-C); 3 = calcari, calcari selciferi, calcari oolitici, calcari dolomitici (Giurassico) (UL D-E); 4 = calcari marnosi (Giurassico); 5 = calcari, calcari selciferi, calcari marnosi (Cretacico); 6 = Flysch marnoso-arenaceo (Cretacico) (UL F); 7 = morene (Quaternario); 8 = depositi di frana, depositi di falda e di cono (Quaternario); 9 = alluvioni (Quaternario); 10 = giacitura degli strati; 11 = faglia inversa; 12 = faglia; 13 = plateau strutturale inclinato; 14 = circo glaciale [M: acrocoro del Musi; P: Abisso “R. Pahor”]; 15 = dorsali spartiacque; 16 = idrografia; 17 = sorgente carsica, grotta sorgente [1: Sorgenti del Torre; 2: Sorgenti in sinistra del Torrente Voidizza; 3: Grotta dell’Uragano e Fontanon di Barman]; 18 = principali drenaggi carsici ipogei accertati mediante tracciamento. Scheme of geology, geomorphology and hydrogeology of the zone of the Peaks of Musi Mountains [taken from Anselmi & Semeraro (1997), Ceretti (1965), Iacuzzi & Vaia (1977, 1981)]. Legend: 1 = dolomites (prevailing) (Triassic) (LU-1); 2 = limestones and dolomitic limestones (Triassic) (LU-B-C); 3 = limestones, cherty limestones, oolitic limestones, dolomitic limestones (Jurassic) (LU-D-E); 4 = marly limestones (Jurassic); 5 = limestones, cherty limestones, marly limestones (Cretaceous); 6 = marly-arenaceous Flysch (Cretaceous) (LU-F); 7 = moraines (Quaternary); 8 = landslide deposits, talus, eluvio-colluvial (Quaternary); 9 = alluvial deposits (Quaternary); 10 = attitude of strata; 11 = reverse fault; 12 = fault; 13 = inclinated structural plateau; 14 = glacial cirque [M: plateau of Musi; P: “R. Pahor” Abyss]; 15 = watershed ridges; 16 = hydrography; 17= karstic spring, spring-cave [1: Springs of Torre Stream; 2: Springs left of Voidizza Stream; 3: “Grotta dell’Uragano” and “Fontanon di Barman” (springs)]; 18 = main karstic drainages proved with tracing test.

Fig. 3. DG1 = diagramma strutturale di 500 fratture (5 stazioni: acrocoro del M. Musi – canalone del Barman (reticolo di Schmidt, emisf. Inf.). Versante S della catena del M. Musi; DG2 = diagramma delle “progressioni di sviluppo” delle gallerie delle grotte dell’acrocoro del Musi (reticolo di Schmit, emisf. inf.), 2.300 m di trattti isorientati come punti proiettati delle rette di giacitura [DG2 da Anselmi & Semeraro (1997)]. DG1 = Structural diagram of 500 joints (5 site: plateau of Musi and gully of Barman) (Schmidt net, inf. hemisphere). S slope of the chain of Musi Mt.; DG2 = diagram of the “progression of development” of the galleries in the caves of the plateau of Musi Mt. (Schmidt net, inf. hemisphere), 2,300 meters of isoriented tracts, as points projected of the lines of attitude [DG2 by Anselmi & Semerhttps://stage.gssg.it/aro (1997)].

Fig. 4. Abisso “Roberto Pahor” 5101 / FR 2830, spaccato e pianta con elementi geomorfologici; rilievo GSSG: P. Alberti, L. Perini, F. Basezzi, P. Manca, F. Premiani (1992-2001). “Roberto Pahor” Abyss 5101 / FR 2830, section, map, geomorphology; survey GSSG.